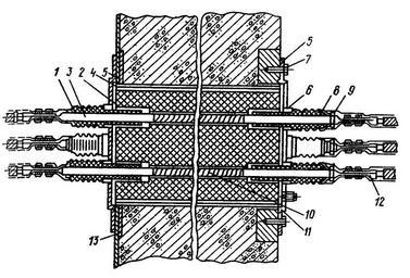
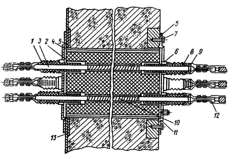
MAKE A MEME View Large Image Cable penetration.jpg en Lead-in of a cable 1 - insulator; 2 - ceramic pipe; 3 - pivot; 4 - steel pipe; 5 - flange; 6 - ring; 7 - facing; 8 - cap; 9 - screw nut; 10 - flexible lead; 11 - padding; 12 - shrink-wrap pipe; 13 - additional ...
View Original:Cable penetration.jpg (1207x820)
Download: Original    Medium    Small Thumb
Courtesy of:commons.wikimedia.org More Like This
Keywords: Cable penetration.jpg en Lead-in of a cable 1 - insulator; 2 - ceramic pipe; 3 - pivot; 4 - steel pipe; 5 - flange; 6 - ring; 7 - facing; 8 - cap; 9 - screw nut; 10 - flexible lead; 11 - padding; 12 - shrink-wrap pipe; 13 - additional flange own Pavlov 2010-02-20 Drawings of firestops
Terms of Use   Search of the Day