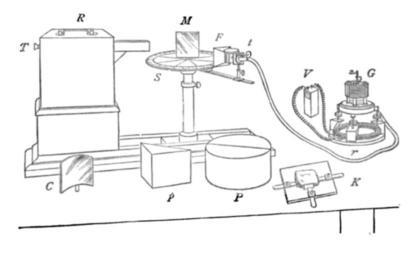
MAKE A MEME View Large Image Jagadish Chandra Bose microwave apparatus.png Jagadish Chandra Bose in his pioneering experiments with microwaves between 1894 and 1897 The drawing is from his 1897 paper It consists of a spark-gap transmitter left which generated 12 - 60 ...
View Original:Jagadish Chandra Bose microwave apparatus.png (837x513)
Download: Original    Medium    Small Thumb
Courtesy of:commons.wikimedia.org More Like This
Keywords: Jagadish Chandra Bose microwave apparatus.png Jagadish Chandra Bose in his pioneering experiments with microwaves between 1894 and 1897 The drawing is from his 1897 paper It consists of a spark-gap transmitter left which generated 12 - 60 GHz microwaves a receiver using a junction detector consisting of fine steel springs mounted in a horn antenna connected to a bias battery and galvanometer The transmitter waveguide and receiving horn were pointed at an optical stand on which reflectors diffraction gratings and prisms could be mounted which Bose used to measure reflection refraction index of refraction diffraction and polarization of the waves The radial arm holding the receiving horn could be rotated to any angle about the stand to measure the angle of the refracted beam In these experiments Bose was first to generate microwaves and invented the microwave horn antenna waveguide and crystal radio wave detector The labeled parts are described in the source as R Spark-gap transmitter with a Righi spark gap consisting of 3 tiny platinum beads driven by an induction coil contained inside an iron box to prevent the magnetic field of the coil from interfering with the receiver The microwaves passed out through a cylindrical or rectangular waveguide pointed at the stand<br> T Key When it was pressed a single spark would jump across the spark gap creating a short pulse of microwaves<br> S Spectrometer circle stand graduated in degrees<br> M Plane mirror<br> F Receiver horn with detector consisting of fine steel springs compressed in box<br> t Thumbscrew to adjust pressure on detector<br> G Galvanometer attached to detector<br> V Liquid battery to bias detector<br> r Potentiometer to adjust bias<br> C Concave mirror<br> p Prism<br> P Half-cylinders for demonstrating internal reflection<br> K Crystal holder for testing transmission of minerals<br> 2012-03-27 Downloaded 2012-03-27 from http //books google com/books id OLYvAQAAIAAJ pg PA62 Jagadish Chandra Bose On a complete apparatus for the study of electric waves in The London Edinburgh and Dublin Philosophical Magazine Vol 43 No 260 January 1897 p 62 fig 4 on Google Books Jagadish Chandra Bose PD-Art Uploaded with UploadWizard Jagadish Chandra Bose Spark-gap transmitters Microwaves radio
Terms of Use   Search of the Day