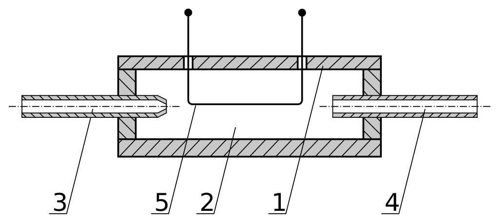
MAKE A MEME View Large Image Przetwornik elektropneumatyczny.svg en Electric to air pressure converter pl Przetwornik elektropneumatyczny 1 korpus<br/> 2 komora<br/> 3 dysza wejściowa<br/> 4 dysza wyjściowa<br/> 5 element grzejny<br/> own CLI 2010-01-18 On the basis ...
View Original:Przetwornik elektropneumatyczny.svg (571x255)
Download: Original    Medium    Small Thumb
Courtesy of:commons.wikimedia.org More Like This
Keywords: Przetwornik elektropneumatyczny.svg en Electric to air pressure converter pl Przetwornik elektropneumatyczny 1 korpus<br/> 2 komora<br/> 3 dysza wejściowa<br/> 4 dysza wyjściowa<br/> 5 element grzejny<br/> own CLI 2010-01-18 On the basis of Wiesław Zapałowicz Łukasz Węsierski Opis patentu tymczasowego nr 89661 Urząd Patentowy RP 1977-03-15 access 22 december 2009 http //pubserv uprp pl/PublicationServer/generuj_dokument php plik PL_000000000089661_B2_PDF Electronic converters
Terms of Use   Search of the Day