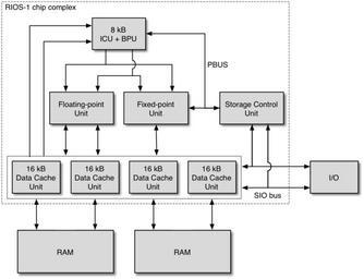
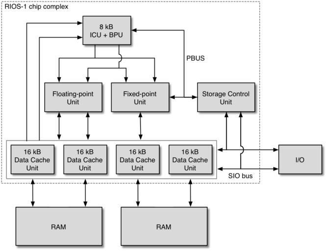
MAKE A MEME View Large Image RIOS-1 schema.png en A schematic overview of the chip complex of a POWER1 RIOS-1 processor own with info from http //domino research ibm com/tchjr/journalindex nsf/4ac37cf0bdc4dd6a85256547004d47e1/2007748fa4ccca0285256bfa0067fb82 ...
View Original:RIOS-1 schema.png (1010x775)
Download: Original    Medium    Small Thumb
Courtesy of:commons.wikimedia.org More Like This
Keywords: RIOS-1 schema.png en A schematic overview of the chip complex of a POWER1 RIOS-1 processor own with info from http //domino research ibm com/tchjr/journalindex nsf/4ac37cf0bdc4dd6a85256547004d47e1/2007748fa4ccca0285256bfa0067fb82 OpenDocument this document from IBM 2008-08-19 Henriok talk Henriok en Original upload log en wikipedia ftcg page en wikipedia RIOS-1_schema png wikitable - 21 21 19 August 2008 1 010 × 775 66 871 bytes Henriok w en <nowiki> A schematic overview of the Blue Gene/L supercomuter I created this work entirely by myself with info from http //domino research ibm com/tchjr/journalindex nsf/4ac37cf0bdc4dd6a85256547004d47e1/2007748fa4ccca0285256bfa </nowiki> Uncategorized 2013 April 1
Terms of Use   Search of the Day